Serie "25"
      convertitori  semicontrollati  monofase

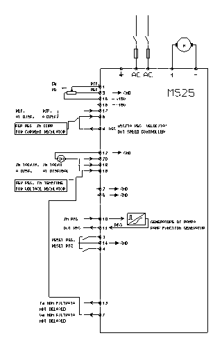
·        I convertitori monofasi della serie “25” sono raffreddati per convezione naturale; sono del tipo unidirezionale e bidirezionale, in grado di fornire 25Acc continuativi, con sovraccarichi transitori fino al 150%.

·        Sezione di regolazione elettricamente isolata dalla sezione di potenza.

·        Scheda di personalizzazione, contenente i potenziometri di taratura, montata su connettori: non occorre rifare le tarature nel caso di sostituzione delle schede o del convertitore completo.

·        Generatore di funzione di rampa con uscita disponibile a morsettiera.

·        Pilotaggio degli SCR a treno di impulsi, quindi possibilitą di alimentare carichi anche fortemente induttivi come i circuiti di eccitazione di grossi motori.

TIPI DI CONVERTITORI

Tipo

 

Vin

Vout

Fusibili

 

MS25/38

380Vac

260Vdc

Esterni 35A

 

MS25/22

220Vac

160Vdc

Esterni 35A

 

MT25/38

380Vac

260Vdc

Esterni 35A

 

MT25/22

220Vac

160Vdc

Esterni 35A

 

MR25/38

380Vac

260Vdc

Esterni 35A

 

MR25/22

220Vac

160Vdc

Esterni 35A

 

       

CARATTERISTICHE MECCANICHE